Une compagnie acclamée à travers le monde, produisant des luminaires LED haut de gamme.
Dans le cadre de notre longue et fructueuse collaboration, je tiens constamment à jour leurs documents officiels, tels que les fiches de spécifications des produits et les manuels d’installation.
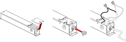
L’attention aux clients les amènent également à créer des documents graphiques pour leur expliquer des informations plus spécifiques.
An internationally acclaimed company producing high-end LED luminaires.
In our long and fruitful collaboration, I’m constantly keeping up to date their official documents, such as products specification sheets and installation manuals.
Their high care for clients, brings them also to build graphic documents to explain more specific information.

Nouveau logo et image corporative
New logo and corporate image

Tableau des produits
Products table


Présentoirs des produits pour les expositions
Display stands for shows



Langage visuel constant pour les dessins
Constant visual language for drawings


Documentation des produits
Product documentation



Présentations à vidéo
Video presentations